Dzisiaj jest 02 marca 2026, 21:13


Strefa czasowa UTC+1godz.




Nowy temat Odpowiedz w temacie  [ Posty: 108 ]  Przejdź na stronę Poprzednia  1, 2, 3, 4, 5, 6 ... 8  Następna
Autor Wiadomość
Post: 09 lipca 2014, 09:38 
Bywalec Nysa/Żuk Service
Awatar użytkownika

Rejestracja: 12 września 2013, 10:59
Posty: 75
Lokalizacja: Podkarpacie
hmm, miernika nie mam ale może mi ktos pomoże__
a co w przypadku kiedy nie bedzie zwarcia miedzy + a masą?

mam skrzynie 4ro biegową, tzn. łacznie ze wstecznym- wymieniłem własnie ten czujnik na nowy z taką długą koncówką..czyżby nie właściwy..?)

_________________
Ze spółdzielczym pozdrowieniem!


Na górę
Offline Wyświetl profil  
 
Post: 09 lipca 2014, 09:48 
Administrator Nysa Service
Awatar użytkownika

Rejestracja: 12 sierpnia 2007, 13:53
Posty: 5110
Lokalizacja: Jelenia Góra
Pojazd: Nysa 522R 1991
Jeśli jest zwarcie, to źle. Znaczy, że masz zwarcie w układzie i musisz je wyeliminować. Nie wiem, co masz na myśli mówiąc "z taką długą końcówką". Zrób najlepiej zdjęcie, wtedy coś pomyślimy. A miernik w byle jakim sklepie elektrycznym kosztuje 12 zł. Tylko weź taki z możliwością sprawdzenia przewodzenia z sygnałem dźwiękowym (piszczy, jak przewodzi), zazwyczaj taka możliwość jest na mierniku oznaczona symbolem diody prostowniczej -|>|-

_________________
NYSA- to jest to... ;)
>Pracownia Renowacji Zabytkowych Motocykli< - Najlepsza robota renowacyjna, polecam!


Na górę
Offline Wyświetl profil  
 
Post: 09 lipca 2014, 13:34 
Bywalec Nysa/Żuk Service
Awatar użytkownika

Rejestracja: 12 września 2013, 10:59
Posty: 75
Lokalizacja: Podkarpacie
czujnik taki jest :)

wyeliminowac zwarcie..coś czuje że nie dostane przeglądu w tym miesiacu. yh.


Załączniki:
wylacznik-swiatel-cofania-126p-zuk.jpg
wylacznik-swiatel-cofania-126p-zuk.jpg [ 60.21 KiB | Przeglądany 7997 razy ]

_________________
Ze spółdzielczym pozdrowieniem!
Na górę
Offline Wyświetl profil  
 
Post: 09 lipca 2014, 13:44 
Administrator Nysa Service
Awatar użytkownika

Rejestracja: 12 sierpnia 2007, 13:53
Posty: 5110
Lokalizacja: Jelenia Góra
Pojazd: Nysa 522R 1991
Dobry czujnik. Znajdź takiego diagnostę, co sie nie przywali :D

_________________
NYSA- to jest to... ;)
>Pracownia Renowacji Zabytkowych Motocykli< - Najlepsza robota renowacyjna, polecam!


Na górę
Offline Wyświetl profil  
 
Post: 09 lipca 2014, 14:15 
Bywalec Nysa/Żuk Service
Awatar użytkownika

Rejestracja: 12 września 2013, 10:59
Posty: 75
Lokalizacja: Podkarpacie
spróbuje a jak nie to będe walczył z kablami choć narazie nie bardzo wiem jak heh

_________________
Ze spółdzielczym pozdrowieniem!


Na górę
Offline Wyświetl profil  
 
Post: 10 lipca 2014, 10:57 
Bywalec Nysa/Żuk Service
Awatar użytkownika

Rejestracja: 12 września 2013, 10:59
Posty: 75
Lokalizacja: Podkarpacie
Witam i jeszcze raz pytam_ a gdybym założył nową lapme z okablowaniem to gdzie musze kable podpiąć poza przekaznikiem przy skrzyni biegów..?

Jakis schemat podłączenia na sam wsteczny_i byłoby wyśmienicie :)
Pozdrawiam.

w ksiażce zuk, budowa, exploat. naprawa; jest schemat ale bez wstecznego..

_________________
Ze spółdzielczym pozdrowieniem!


Na górę
Offline Wyświetl profil  
 
Post: 12 lipca 2014, 14:38 
Bywalec Nysa/Żuk Service
Awatar użytkownika

Rejestracja: 12 września 2013, 10:59
Posty: 75
Lokalizacja: Podkarpacie
No i niby temat 'wszystko o światłach" a tu nikt nie poratuje schematem na okablowanie wstecznego... nie moge sie nigdzie tego doszukać. :(

_________________
Ze spółdzielczym pozdrowieniem!


Na górę
Offline Wyświetl profil  
 
Post: 12 lipca 2014, 19:51 
Administrator Nysa Service
Awatar użytkownika

Rejestracja: 12 sierpnia 2007, 13:53
Posty: 5110
Lokalizacja: Jelenia Góra
Pojazd: Nysa 522R 1991
Nie wiadomo mi nic o czymś takim, jak schemat okablowania wstecznego. Jest schemat ogólny, z którego można to wywnioskować. Schematy są dostępne w dziale elektryka na stronie.

_________________
NYSA- to jest to... ;)
>Pracownia Renowacji Zabytkowych Motocykli< - Najlepsza robota renowacyjna, polecam!


Na górę
Offline Wyświetl profil  
 
Post: 13 lipca 2014, 15:03 
Bywalec Nysa/Żuk Service
Awatar użytkownika

Rejestracja: 12 września 2013, 10:59
Posty: 75
Lokalizacja: Podkarpacie
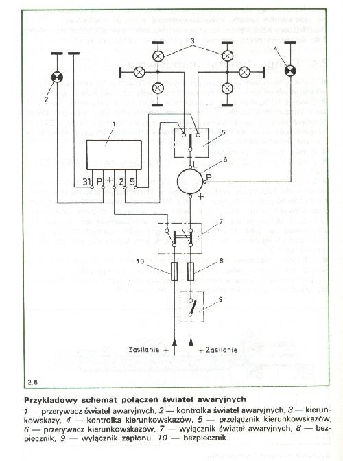
Miałem na mysli taki pojedynczy schemat podłączenia jak na tym przykładzie świateł awaryjnych.
zassałem sobie taki Ogólny schemat i nie widze tam nic co ma sie do swiatła cofania, moze jestem slepy. Nie znalazłem tego równiez na schemacie w ksiażce "Żuk budowa eksploatacja i naprawa" i nie znalazłem tego tez w katalogu części zuka, ani w książce Naprawa samochodów ńysa.
W sieci tez nie moge tego znaleść.
Może komuś bedzie wiadomo jednak gdzie mam podpiąc 2 kable od lampy, oprócz czujnika w skrzyni..?


Załączniki:
_wiat_a_awaryjne_815.jpg
_wiat_a_awaryjne_815.jpg [ 55.3 KiB | Przeglądany 7954 razy ]

_________________
Ze spółdzielczym pozdrowieniem!
Na górę
Offline Wyświetl profil  
 
Post: 13 lipca 2014, 16:00 
Fanatyk Nysa/Żuk Service
Awatar użytkownika

Rejestracja: 02 stycznia 2010, 12:12
Posty: 2866
Lokalizacja: EU
wlacz zaplon i zobacz czy na jednym z tych 2 kabli jest prad , tam przy tym wlaczniku lampy cofania , jak jest to ok , to bedzie wina albo wlacznika albo tego drugiego kabla co idzie do lampy , albo wina masy ze niemasz masy na lampie , i byly rózej dlugosci te wlaczniki lampy cofania , jak wogóle niamasz pewnosci to kup nowy w sklepie zuk/lublin

_________________
FSD - NYSA SERVICE (POLMO)


Na górę
Offline Wyświetl profil  
 
Post: 13 lipca 2014, 16:05 
Bywalec Nysa/Żuk Service
Awatar użytkownika

Rejestracja: 12 września 2013, 10:59
Posty: 75
Lokalizacja: Podkarpacie
witka. spróbuje sprawdzić czy jest prad. ten czujnik wymieniłem własnie na nowy..wiec podejzewam kable, stąd pomysł podpiecia nowych kabli od wstecznego..

_________________
Ze spółdzielczym pozdrowieniem!


Na górę
Offline Wyświetl profil  
 
Post: 13 lipca 2014, 16:12 
Fanatyk Nysa/Żuk Service
Awatar użytkownika

Rejestracja: 02 stycznia 2010, 12:12
Posty: 2866
Lokalizacja: EU
niegdy sie tak nierobi , musisz najpierw sprawdzic czy masz prad na starych kablach , na 99% ta lampa niedostawala masy.

_________________
FSD - NYSA SERVICE (POLMO)


Na górę
Offline Wyświetl profil  
 
Post: 13 lipca 2014, 16:28 
Bywalec Nysa/Żuk Service
Awatar użytkownika

Rejestracja: 12 września 2013, 10:59
Posty: 75
Lokalizacja: Podkarpacie
no ok, a mozliwe ze tak sie nie robi. a jestes w stanie mi powiedziec gdzie te kable idą? czy one sa tylko podpiete od lampy do czujnika..? ? to byloby za proste chyba hehe.

ok, pozycze to urzadzenie i sprawdze gdzie jest prad a gdzie nie ma_a wtedy bede wdzieczny za wyjasnienie jak baba krowie na rowie

_________________
Ze spółdzielczym pozdrowieniem!


Na górę
Offline Wyświetl profil  
 
Post: 13 lipca 2014, 17:59 
Fanatyk Nysa/Żuk Service
Awatar użytkownika

Rejestracja: 02 stycznia 2010, 12:12
Posty: 2866
Lokalizacja: EU
no jeden kabel wychodzi z wiazki która idzie na tyl samochodu , to ten kabel na którym po wlaczeniu zaplonu powinien byc prad , a ten drugi kabel idzie do lampy , a lampa pobiera mase z nadwozia/ramy samochodu jak tam niebedzie dobrego kontaktu to tez sie niezaswieci lampa , sprawdz to.

zwykla próbówka starczy zebys sprawdzil czy na kablu masz prad.

_________________
FSD - NYSA SERVICE (POLMO)


Na górę
Offline Wyświetl profil  
 
Post: 18 lipca 2014, 09:26 
Bywalec Nysa/Żuk Service
Awatar użytkownika

Rejestracja: 12 września 2013, 10:59
Posty: 75
Lokalizacja: Podkarpacie
a więc dotykałem zwykłaą próbówką w rozmaitych miejscach_ i dupa. Raz sie zaiskrzyło (a potem juz nie chciało) jak dotykałem przy czujniku w skrzyni biegów. We wstecznym nic sie nie zaświeciło_ani tyci tyci_a był zmrok. Sprawdzałem przy zapalanym silniku na jałowym biegu i na przekreconej do połowy stacyjce i z wrzuconym biegiem wstecznym. Może jednak kupie ten przyrzad do elektryki.

Mam juz nową lampe i nowy przekaznik do świateł_podepne i dam znać.

_________________
Ze spółdzielczym pozdrowieniem!


Na górę
Offline Wyświetl profil  
 
Wyświetl posty nie starsze niż:  Sortuj wg  
Nowy temat Odpowiedz w temacie  [ Posty: 108 ]  Przejdź na stronę Poprzednia  1, 2, 3, 4, 5, 6 ... 8  Następna
Moderatorzy: monterr07, Dziwny Mag

Strefa czasowa UTC+1godz.


Kto jest online

Użytkownicy przeglądający to forum: Obecnie na forum nie ma żadnego zarejestrowanego użytkownika i 7 gości


Nie możesz tworzyć nowych tematów
Nie możesz odpowiadać w tematach
Nie możesz zmieniać swoich postów
Nie możesz usuwać swoich postów
Nie możesz dodawać załączników

Szukaj:
Przejdź do:  
cron

Technologię dostarcza phpBB® Forum Software © phpBB Group
Theme created StylerBB.net